核心提示:IT之家3月27日消息,根据美国商标和专利局近日公示的清单,苹果公司获得了一项关于iPhone电池的专利,可以在不增加体积的前提下,提高电池容量,从而延长续航表现。该专利于2021年...
IT之家 3 月 27 日消息,根据美国商标和专利局近日公示的清单,苹果公司获得了一项关于 iPhone 电池的专利,可以在不增加体积的前提下,提高电池容量,从而延长续航表现。
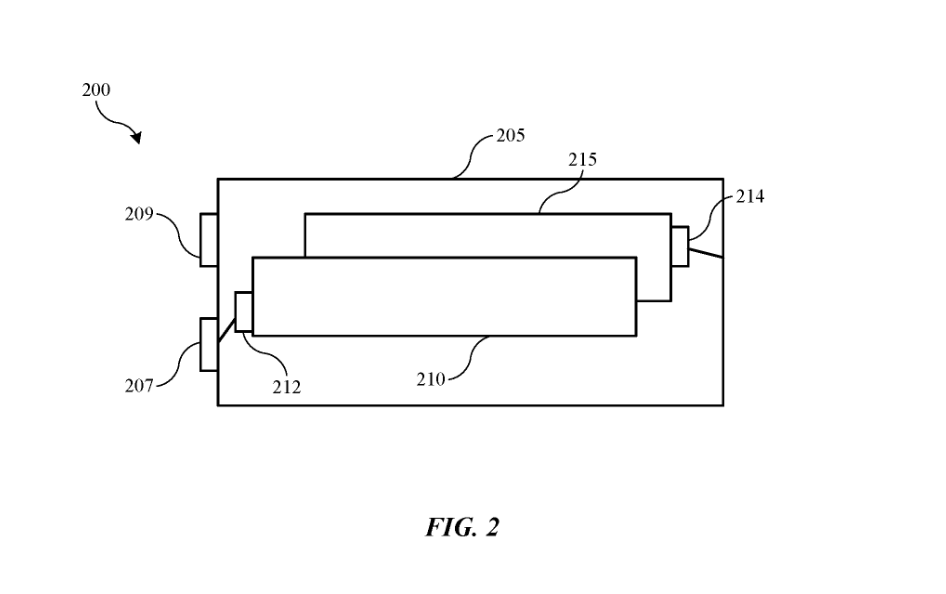
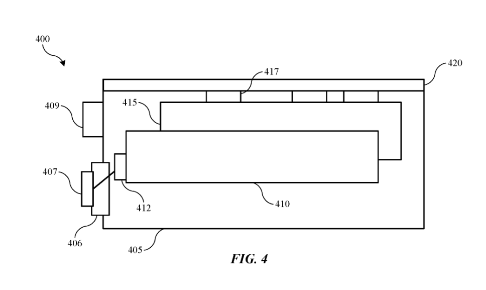
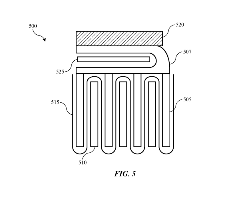
该专利于 2021 年 9 月提交,2024 年 3 月 26 日公示,专利名称为《带直角凸片的电池单元》(battery cells with tabs at right angle),详细介绍了电池技术的现状、挑战和突破方案。
苹果为了改善续航,在专利中研究了电池的隔膜、带折叠的隔膜以及耦合电池组件等方法,比现有方案进一步提高电池容量。
在专利中苹果还概述了通过调整位置的标签化方案,这意味着未来的 iPhone 电池不仅可以做得更大,还可以采用不同角度的连接器和标签,以帮助解决空间问题。

苹果在专利中描述:“其中一组连接器可以从表面沿第一方向延伸的接片,而另一组连接器可以包含与第一方向基本垂直的接片,这不仅可以解决空间限制的问题,还可以改善整个电池的电阻,从而提高电池的效率”。
IT之家附上更多专利草图如下:



广告声明:文内含有的对外跳转链接(包括不限于超链接、二维码、口令等形式),用于传递更多信息,节省甄选时间,结果仅供参考,IT之家所有文章均包含本声明。
